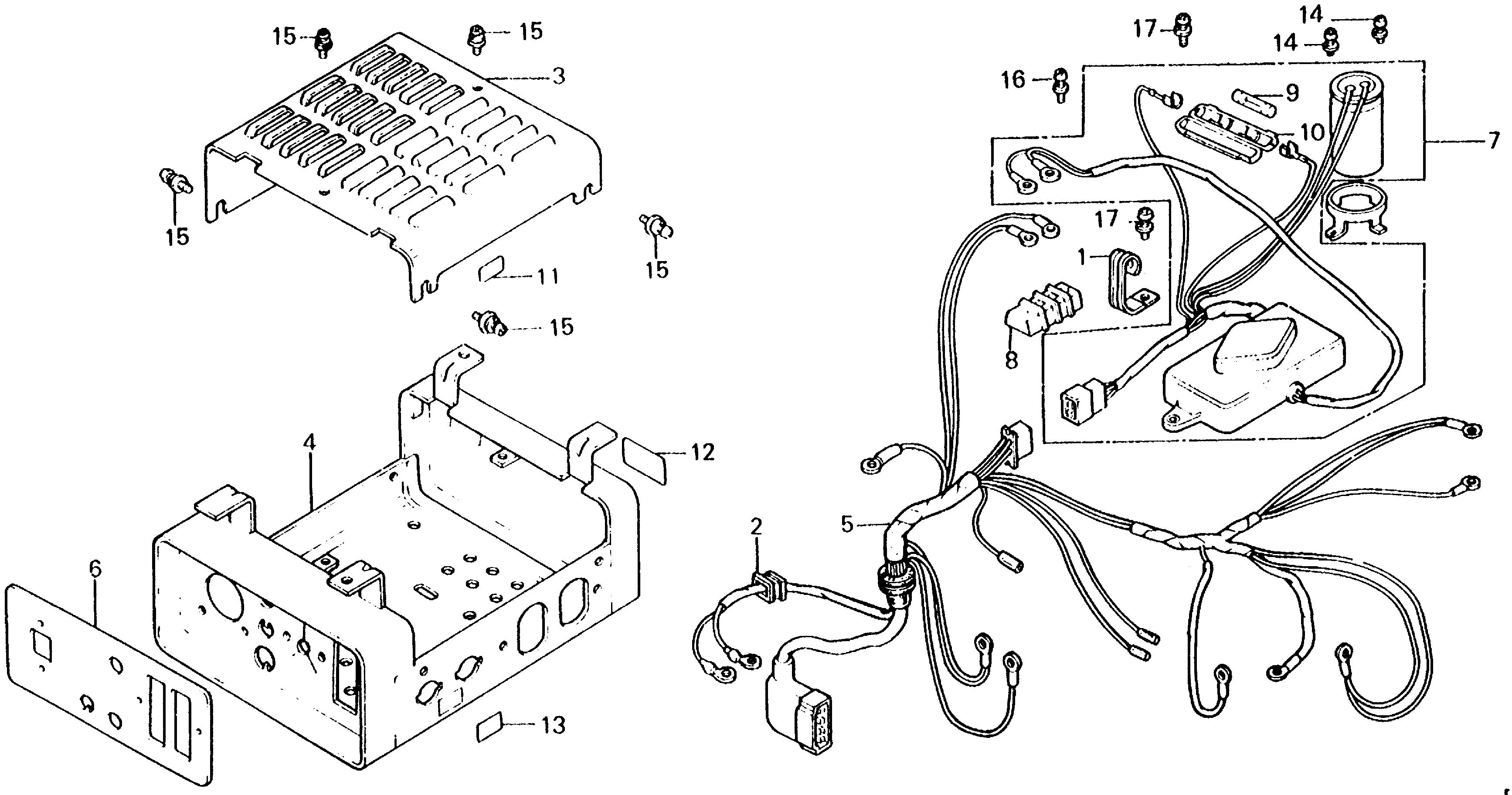
Generators E E1500 E1500K4 A E1500-3000008-9999999 WIRE HARNESS@AUTOMATIC VOLT. REGULATOR - Alvarado Marine & Power Equipment

Ref No
Part Number
Description
Serial Range
Qty
Price

Ref No
1
Part Number
30564-876-003
Description
CLAMP A, WIRE
Serial Range
1000001 - 9999999

Ref No
2
Part Number
31131-876-158
Description
BUSH, RUBBER
Serial Range
1000001 - 9999999

Ref No
3
Part Number
31401-876-158H
Description
COVER, CONTROL BOX (UPPER) *R8* (BRIGHT RED)
Serial Range
1000001 - 9999999

Ref No
4
Part Number
31402-876-158H
Description
COVER, CONTROL BOX (LOWER) *R8* (BRIGHT RED)
Serial Range
1000001 - 9999999

Ref No
5
Part Number
31404-876-158
Description
WIRE HARNESS ASSY.
Serial Range
1000001 - 9999999

Ref No
6
Part Number
31405-876-601
Description
PANEL, FR.
Serial Range
3057658 - 9999999

Ref No
7
Part Number
31410-871-003
Description
REGULATOR ASSY., AUTOMATIC VOLTAGE
Serial Range
3010088 - 3031107

Ref No
7
Part Number
31410-871-013
Description
REGULATOR ASSY., AUTOMATIC VOLTAGE
Serial Range
3031108 - 9999999

Ref No
7
Part Number
31410-871-158
Description
REGULATOR ASSY., AUTOMATIC VOLTAGE
Serial Range
1000001 - 3010087

Ref No
7
Part Number
31410-871-305
Description
REGULATOR ASSY., AUTOMATIC VOLTAGE
Serial Range
1000001 - 3010087

Ref No
7
Part Number
31410-871-315
Description
REGULATOR ASSY., AUTOMATIC VOLTAGE (NOT AVAILABLE)
Serial Range
1000001 - 3031107

Ref No
8
Part Number
31419-876-158
Description
TERMINAL (2 POLE)
Serial Range
1000001 - 9999999

Ref No
9
Part Number
32342-871-000
Description
FUSE (2.5A) (NOT AVAILABLE)
Serial Range
3031108 - 9999999

Ref No
10
Part Number
38211-842-159
Description
HOLDER, FUSE
Serial Range
3031108 - 9999999

Ref No
11
Part Number
87524-839-670
Description
MARK C, CAUTION (NOT AVAILABLE)
Serial Range
3031108 - 9999999

Ref No
12
Part Number
87534-892-640
Description
MARK, GROUND
Serial Range
1000001 - 9999999
Qty
Price
$2.40

Ref No
13
Part Number
87536-840-000
Description
MARK B, D.C. OUTPUT (NOT AVAILABLE)
Serial Range
1000001 - 9999999

Ref No
14
Part Number
93892-04006-08
Description
SCREW-WASHER (4X6)
Serial Range
1000001 - 9999999
Qty
Price
$1.40

Ref No
15
Part Number
93893-04006-08
Description
SCREW-WASHER (4X6)
Serial Range
1000001 - 9999999
Qty
Price
$1.44

Ref No
16
Part Number
93893-04016-08
Description
SCREW-WASHER (4X16)
Serial Range
1000001 - 9999999
Qty
Price
$1.52

Ref No
17
Part Number
93892-05010-08
Description
SCREW-WASHER (5X10)
Serial Range
1000001 - 3010087
Qty
Price
$1.40

Ref No
17
Part Number
93893-05016-08
Description
SCREW-WASHER (5X16)
Serial Range
3010088 - 9999999
Qty
Price
$1.50