Ref No
Part Number
Description
Serial Range
Qty
Price
Ref No 1
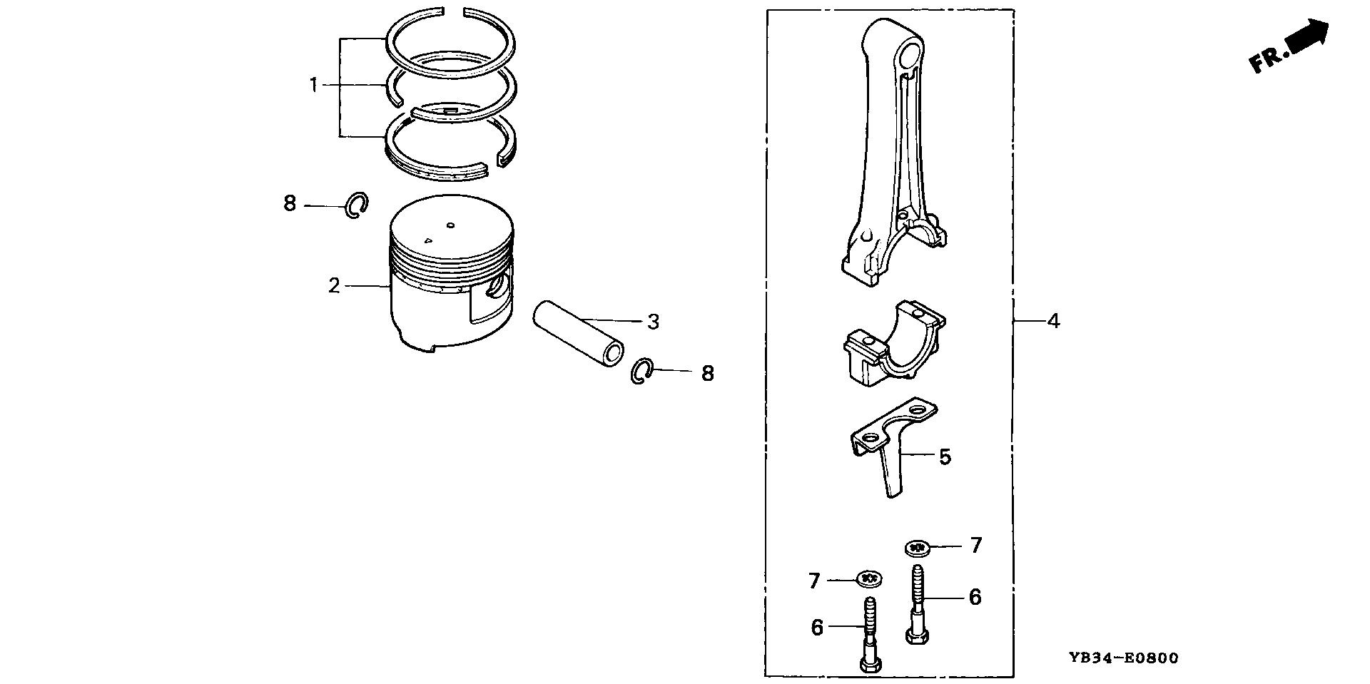
Part Number 13010-894-003
Description RING SET, PISTON (STD) (TEIKOKU)
Serial Range 1000001 - 9999999
Qty
Price $42.92
Add To Cart
Ref No 1
Part Number 13010-YA0-004
Description RING SET, PISTON (STD) (NIPPON)
Serial Range 1000001 - 9999999
Qty
Price $42.92
Add To Cart
Ref No 1
Part Number 13011-894-003
Description RING SET, PISTON (0.25) (TEIKOKU)
Serial Range 1000001 - 9999999
Qty
Price $36.54
Add To Cart
Ref No 1
Part Number 13011-894-004
Description RING SET, PISTON (0.25) (NIPPON)
Serial Range 1000001 - 9999999
Ref No 1
Part Number 13011-YA0-004
Description RING SET, PISTON (0.25) (NIPPON)
Serial Range 1000001 - 9999999
Qty
Price $36.54
Add To Cart
Ref No 1
Part Number 13012-YA0-004
Description RING SET, PISTON (0.50) (NIPPON)
Serial Range 1000001 - 9999999
Qty
Price $45.40
Add To Cart
Ref No 1
Part Number 13013-894-003
Description RING SET, PISTON (0.75) (TEIKOKU)
Serial Range 1000001 - 9999999
Qty
Price $47.46
Add To Cart
Ref No 1
Part Number 13013-YA0-004
Description RING SET, PISTON (0.75) (NIPPON)
Serial Range 1000001 - 9999999
Qty
Price $47.46
Add To Cart
Ref No 2
Part Number 13101-883-003
Description PISTON (STD)
Serial Range 1000001 - 9999999
Qty
Price $80.52
Add To Cart
Ref No 2
Part Number 13102-883-003
Description PISTON (0.25)
Serial Range 1000001 - 9999999
Ref No 2
Part Number 13103-883-003
Description PISTON (0.50)
Serial Range 1000001 - 9999999
Ref No 2
Part Number 13104-883-003
Description PISTON (0.75)
Serial Range 1000001 - 9999999
Qty
Price $54.16
Add To Cart
Ref No 3
Part Number 13111-883-000
Description PIN, PISTON
Serial Range 1000001 - 9999999
Qty
Price $11.08
Add To Cart
Ref No 4
Part Number 13200-883-040
Description ROD ASSY., CONNECTING
Serial Range 1000001 - 9999999
Qty
Price $94.50
Add To Cart
Ref No 4
Part Number 13200-883-345
Description ROD ASSY., CONNECTING (UNDER SIZE)
Serial Range 1000001 - 9999999
Ref No 5
Part Number 13281-883-030
Description DIPPER, CONNECTING ROD
Serial Range 1000001 - 9999999
Qty
Price $11.40
Add To Cart
Ref No 6
Part Number 90001-883-020
Description BOLT, CONNECTING ROD (7MM)
Serial Range 1000001 - 9999999
Qty
Price $4.14
Add To Cart
Ref No 7
Part Number 90432-889-003
Description WASHER, LOCK (7MM)
Serial Range 1000001 - 9999999
Qty
Price $1.66
Add To Cart
Ref No 8
Part Number 90551-883-000
Description CLIP, PISTON PIN (15MM)
Serial Range 1000001 - 9999999
Ref No 8
Part Number 94601-15000
Description CLIP, PISTON PIN (15MM)
Serial Range 1000001 - 9999999
Qty
Price $1.24
Add To Cart