Riding Mower HT-R HT-R3009 HT-R3009K1 SA MA1T-5100001-9999999 HEIGHT ADJUSTING LEVER - Alvarado Marine & Power Equipment

Ref No
Part Number
Description
Serial Range
Qty
Price

Ref No
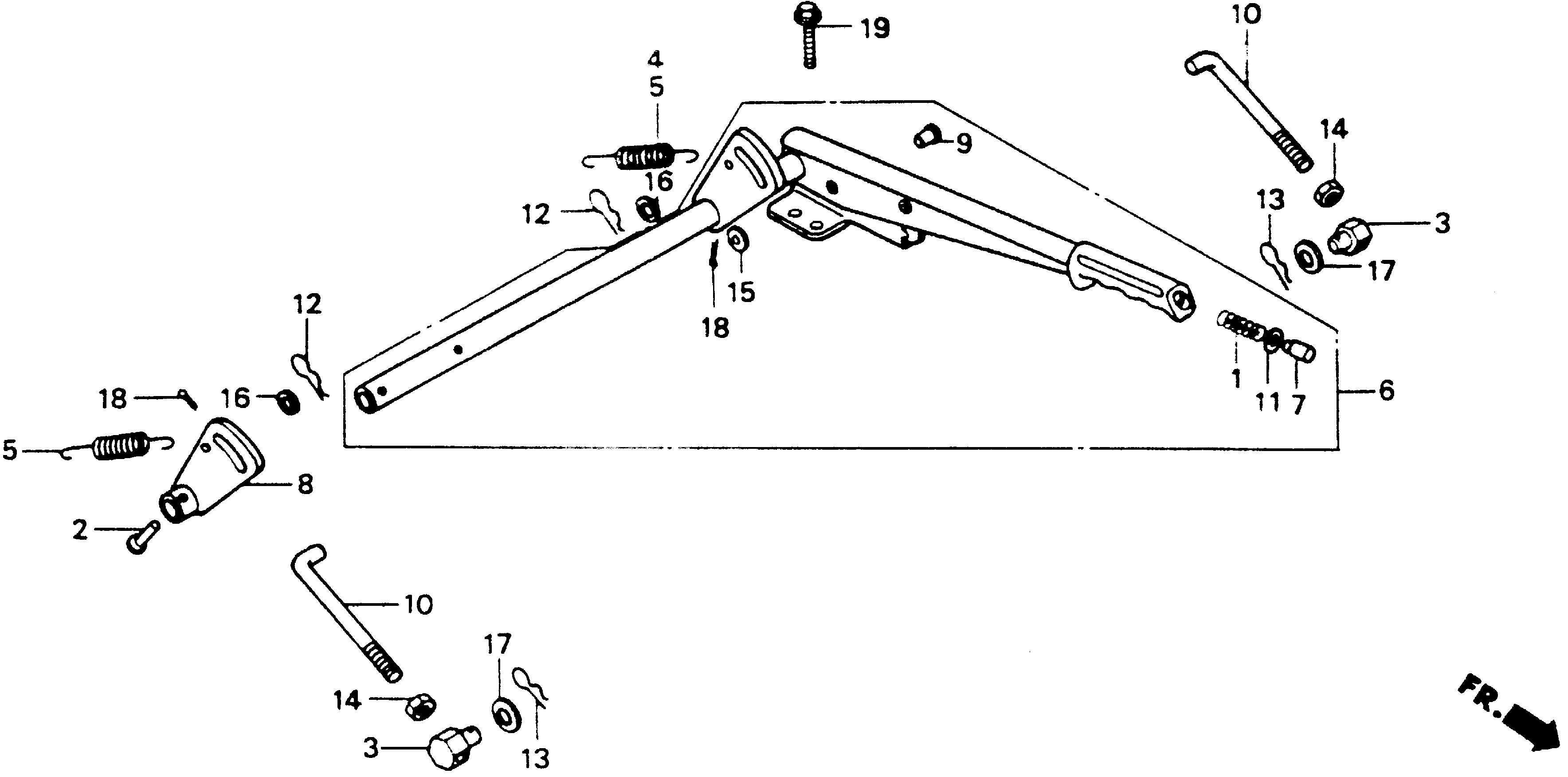
1
Part Number
47143-671-310
Description
SPRING, PUSH ROD (NOT AVAILABLE)
Serial Range
1000001 - 9999999

Ref No
1
Part Number
47143-750-300
Description
SPRING, PUSH ROD
Serial Range
5115035 - 9999999
Qty
Price
$3.90

Ref No
2
Part Number
76165-751-000
Description
PIN (7X32.5) (NOT AVAILABLE)
Serial Range
5007129 - 9999999

Ref No
3
Part Number
76185-751-700
Description
PIN, FR. LINK ADJUSTING
Serial Range
1000001 - 9999999
Qty
Price
$19.18

Ref No
4
Part Number
76193-751-000
Description
SPRING, DECK LIFT
Serial Range
1000001 - 9999999

Ref No
6
Part Number
76310-751-000
Description
LEVER ASSY., HEIGHT ADJUSTING
Serial Range
1000001 - 9999999

Ref No
6
Part Number
76310-751-010
Description
LEVER ASSY., HEIGHT ADJUSTING
Serial Range
1000001 - 9999999

Ref No
6
Part Number
76310-751-020
Description
LEVER ASSY., HEIGHT ADJUSTING
Serial Range
5007110 - 5115034

Ref No
6
Part Number
76310-751-030
Description
LEVER ASSY., HEIGHT ADJUSTING (NOT AVAILABLE)
Serial Range
5115035 - 9999999

Ref No
7
Part Number
04405-750-020
Description
GRIP KIT, DECK ADJUST
Serial Range
5007129 - 9999999
Qty
Price
$44.12

Ref No
7
Part Number
76314-750-300
Description
KNOB, PUSH ROD
Serial Range
5007110 - 9999999

Ref No
8
Part Number
76320-751-700
Description
ARM, LIFT (NOT AVAILABLE)
Serial Range
1000001 - 9999999

Ref No
9
Part Number
76324-750-300
Description
PIN, HEIGHT ADJUSTING LEVER STOPPER
Serial Range
1000001 - 9999999
Qty
Price
$4.26

Ref No
10
Part Number
76351-750-000
Description
BAR, ADJUSTING (NOT AVAILABLE)
Serial Range
1000001 - 9999999

Ref No
12
Part Number
90701-750-000
Description
PIN, LOCK (2.3MM)
Serial Range
5007110 - 9999999
Qty
Price
$3.84

Ref No
13
Part Number
90703-751-000
Description
PIN, LOCK (14MM) (NOT AVAILABLE)
Serial Range
1000001 - 9999999

Ref No
14
Part Number
94001-12000-0S
Description
NUT, HEX. (12MM)
Serial Range
1000001 - 9999999
Qty
Price
$2.12

Ref No
15
Part Number
94102-10000
Description
WASHER, PLAIN (10MM)
Serial Range
1000001 - 9999999
Qty
Price
$0.92

Ref No
16
Part Number
94102-12800
Description
WASHER, PLAIN (12MM)
Serial Range
1000001 - 9999999
Qty
Price
$1.48

Ref No
17
Part Number
94102-14800
Description
WASHER, PLAIN (14MM)
Serial Range
1000001 - 9999999
Qty
Price
$1.38

Ref No
18
Part Number
94201-20150
Description
PIN, SPLIT (2.0X15)
Serial Range
1000001 - 9999999
Qty
Price
$1.26

Ref No
19
Part Number
95701-08016-08
Description
BOLT, FLANGE (8X16)
Serial Range
1000001 - 9999999
Qty
Price
$2.20